Идея хорошая ! контроль состава смеси и вывести индикатор в менеджер соотношения бензин воздух (можно качество смеси регулировать). У меня на авто стоит датчик кислорода BOSH но он не используется, даже приблуду индикатор к нему делал.датчик кислорода был?
Список функций запланированных на весенний релиз ПО (2013)
Moderator: STC
-
Lesha_ua
- QFP80 - Contributor
- Posts: 35
- Joined: Mon Dec 24, 2012 7:15 pm
- Location: Ukraine, Kirovograd
Re: Список функций запланированных на весенний релиз ПО (201
Last edited by Lesha_ua on Fri Jan 11, 2013 2:20 pm, edited 1 time in total.
-
dimonfish
- LQFP144 - On Top Of The Game
- Posts: 365
- Joined: Fri Aug 19, 2011 4:34 am
- Location: Севастополь, UA
Re: Список функций запланированных на весенний релиз ПО (201
вон тем самым электроклапаном ЭМРLesha_ua wrote:(можно качество смеси регулировать).
-
Stranger21
- LQFP144 - On Top Of The Game
- Posts: 1664
- Joined: Fri Jul 01, 2011 2:10 pm
- Location: г Уфа
Re: Список функций запланированных на весенний релиз ПО (201
В солексах где он штатно ставился на экспорт , так и делали ) Шимом на клапан и по ДК рулили смесью )
класная штука грят была )
класная штука грят была )
WAZ21051 gti 1.7i SECU3Ts + mm1.2.3(1)
ВАЗ21310 1.7i Я7.2 2001г
ВАЗ21310 1.7i Я7.2 2001г
-
dimonfish
- LQFP144 - On Top Of The Game
- Posts: 365
- Joined: Fri Aug 19, 2011 4:34 am
- Location: Севастополь, UA
Re: Список функций запланированных на весенний релиз ПО (201
именно так
у мня вон в Севастополе есть крбураторщик и солекс заводской крутил такой в руках када стоял передо мной выбор переходник\или досверлить дорезать и вставить штатно (переходник рулит
). дык той карбураторщик впаривал мне заоодно модуль управления тем клапаном (он наверно на кт315\361
) размером примерно штук 7\8 секу. я иму грю: "куда я иво в таврии тулить буду? там итак места нету
)
-
Lesha_ua
- QFP80 - Contributor
- Posts: 35
- Joined: Mon Dec 24, 2012 7:15 pm
- Location: Ukraine, Kirovograd
Re: Список функций запланированных на весенний релиз ПО (201
Эта система использавалась с зажиганием LADA AFR. Ниже есть ссылка где описан принцип работы, со всеми входными и выходними параметрами.
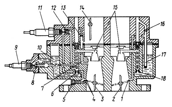
Ниже показаны актюаторы холостого хода (слева) и главной дозирующей системы (справа) фирмы "GM" (актюаторы отличаются диаметром жиклера и разъемами):
Ниже показан актюатор отечественного производства (они одинаковы для актюатора холостого хода и главной дозирующей системы и отличаются только диаметром жиклера):
http://ahlen-auto.narod.ru/engine_tox.htm
http://www.automnl.com/model/vaz_2108/299/
Думаю всё это и больше может делать и SECU-3T. Эта система стояла у меня на авто , но её сняли ( наверно сломалась ) и я покупал машину уже без неё, но все датчики на машине остались. Такчто готов протестировать работу этой системы в случае внедрения её в SECU-3.
AXTEC AFR.
Система устанавливалась Автовазом на карбюраторные "зубилки", идущие на экспорт, вместе с модификацией карбюратора Солекс - модель 21083-62. Отличия от стандартного Солекса: наличие автоматического пускового устройства (это к нашей системе не относится), а вместо ЭМР стоит второй электромагнитный клапан. Обоими клапанами - на главной дозирующей системе и на системе холостого хода управляет блок AXTEC AFR. К системе выхлопа подключён датчик кислорода, и через обратную связь по этому датчику электронная система регулирует состав смеси. Однако модификацию Солекса 62 искать вовсе не обязательно, достаточно выточить переходник под второй клапан.
Вкратце, система управляет составом смеси для более полного её сгорания, что положительно влияет как на экономичность, так и на содержание CO-CH в выбросах, а также за счёт обратной связи становятся менее критичны ошибки в настройке карбюратора и нечувствительность к незначительным "уходам" настроек с течением времени (а такой "уход" характерен для всех карбюраторов).
Ниже показаны актюаторы холостого хода (слева) и главной дозирующей системы (справа) фирмы "GM" (актюаторы отличаются диаметром жиклера и разъемами):
Ниже показан актюатор отечественного производства (они одинаковы для актюатора холостого хода и главной дозирующей системы и отличаются только диаметром жиклера):
http://ahlen-auto.narod.ru/engine_tox.htm
http://www.automnl.com/model/vaz_2108/299/
Думаю всё это и больше может делать и SECU-3T. Эта система стояла у меня на авто , но её сняли ( наверно сломалась ) и я покупал машину уже без неё, но все датчики на машине остались. Такчто готов протестировать работу этой системы в случае внедрения её в SECU-3.
AXTEC AFR.
Система устанавливалась Автовазом на карбюраторные "зубилки", идущие на экспорт, вместе с модификацией карбюратора Солекс - модель 21083-62. Отличия от стандартного Солекса: наличие автоматического пускового устройства (это к нашей системе не относится), а вместо ЭМР стоит второй электромагнитный клапан. Обоими клапанами - на главной дозирующей системе и на системе холостого хода управляет блок AXTEC AFR. К системе выхлопа подключён датчик кислорода, и через обратную связь по этому датчику электронная система регулирует состав смеси. Однако модификацию Солекса 62 искать вовсе не обязательно, достаточно выточить переходник под второй клапан.
Вкратце, система управляет составом смеси для более полного её сгорания, что положительно влияет как на экономичность, так и на содержание CO-CH в выбросах, а также за счёт обратной связи становятся менее критичны ошибки в настройке карбюратора и нечувствительность к незначительным "уходам" настроек с течением времени (а такой "уход" характерен для всех карбюраторов).
-
dimonfish
- LQFP144 - On Top Of The Game
- Posts: 365
- Joined: Fri Aug 19, 2011 4:34 am
- Location: Севастополь, UA
Re: Список функций запланированных на весенний релиз ПО (201
не, ну ради такой кашерной доработки, я тоже готов вварить ДК в штаны
мош даж ШДК (цена? ну то такое
)
-
Stranger21
- LQFP144 - On Top Of The Game
- Posts: 1664
- Joined: Fri Jul 01, 2011 2:10 pm
- Location: г Уфа
Re: Список функций запланированных на весенний релиз ПО (201
ШДК не бютжет полюбасу .
да и УДК хватит вполне .
да и УДК хватит вполне .
WAZ21051 gti 1.7i SECU3Ts + mm1.2.3(1)
ВАЗ21310 1.7i Я7.2 2001г
ВАЗ21310 1.7i Я7.2 2001г
- STC
- LQFP144 - On Top Of The Game
- Posts: 2420
- Joined: Fri Oct 22, 2010 10:47 pm
- Location: Ukraine, Kiev
- Contact:
Re: Список функций запланированных на весенний релиз ПО (201
Два аналоговых входа ADD_IO1 и ADD_IO2 уже пишутся с лог. Так что за составом смеси можно сделить уже сейчас если подключить к одному из этих входов датчик кислорода. А по поводу использования ЭМР уже создана отдельная тема viewtopic.php?f=70&t=1974. Это можно будет в будущем сделать, но наверное уже не на весенний релиз, а позже.
Author of the SECU-3 project. SECU-3 Engine control unit / Ignition control system
SECU-3.org (Русский)
SECU-3.org (English)
SECU-3 Club ВКонтакте
SECU-3 EMS Project Facebook
SECU-3.org (Русский)
SECU-3.org (English)
SECU-3 Club ВКонтакте
SECU-3 EMS Project Facebook
-
serge__5518
- LQFP112 - Up with the play
- Posts: 200
- Joined: Sat Jun 09, 2012 11:12 am
Re: Список функций запланированных на весенний релиз ПО (201
А время проконсультировать, ответить на вопросы найдеться?STC wrote:Можно тоже включить в список, но боюсь что к этому я дойду не скоро.А как насчет библиотек или DLL для "сторонних разработчиков" ?
Хочу "ускорить" процесс и попробовать самому кое-что сделать.
Например, есть такой вопрос:
Как можно использовать функции исходников менеджера для
настройки перефирии PC (comport).
Посмотрел исходники менеджера - все довольно плотно увязано. Вырезать кусок для API проблематично -)
PS
Завершил часть задумок в анализаторе логов.
Работает сейчас с прошивками V3.3(нет полной совместимости с менеджером)
Могу выложить - посмотришь в каком направлении двигаюсь -)
Может что посоветуешь...
ВАЗ 2103 , Secu-3 (m32),
ДАД GM Daewoo, ДТОЖ 23.3828,
Катушка 2111-3705010
ДАД GM Daewoo, ДТОЖ 23.3828,
Катушка 2111-3705010
- STC
- LQFP144 - On Top Of The Game
- Posts: 2420
- Joined: Fri Oct 22, 2010 10:47 pm
- Location: Ukraine, Kiev
- Contact:
Re: Список функций запланированных на весенний релиз ПО (201
Есть класс CComPort, в нем реализована настройка и работа с портом.ак можно использовать функции исходников менеджера для
настройки перефирии PC (comport).
Выложи, посмотрим. Лучше создать в разделе "Программное обеспечение" отдельную тему для API.Могу выложить - посмотришь в каком направлении двигаюсь -)
Может что посоветуешь...
Author of the SECU-3 project. SECU-3 Engine control unit / Ignition control system
SECU-3.org (Русский)
SECU-3.org (English)
SECU-3 Club ВКонтакте
SECU-3 EMS Project Facebook
SECU-3.org (Русский)
SECU-3.org (English)
SECU-3 Club ВКонтакте
SECU-3 EMS Project Facebook